10 Interesting Motorcycle Technology Patents of the Last Few Years
- Sudip Issac Sam

- Oct 7, 2021
- 5 min read
Motorcycle technology has come a long way in terms of safety as well as rider comfort in the last few decades. With Moore’s law playing its role and the advent of EVs, motorcycles of today are essentially futuristic rolling computers, laden with sensors and enough processing power to read the terrain in real-time and make adjustments to the motorcycle in milliseconds, faster than any human could ever do.
Here we take a look at 10 of the most interesting patents in upcoming motorcycle technology that were filed by renowned motorcycle brands in recent years. Although a patent does not translate to technology becoming a reality, it does push the envelope in terms of what is possible in the field.
1. Active Cruise Control (ACC)
Currently under development by BMW Motorrad, KTM and Ducati the Active Cruise Control utilizes radar sensors fitted at the front of the motorcycle to help maintain a certain speed as well as the distance from the vehicle in the front. Developed for long-distance touring motorcycles, the system helps the rider to overtake, corner, and ride comfortably without risk of rear-end collision.
In Ducati motorcycles, the system is called ‘ARAS’ (Advance Rider Assistance System) and it also includes a rear sensor that helps in blind spot detection.
Although this system has been present in premium car models for years, its advent into motorcycles has been viewed with a bit of scepticism from laggards that object to the intrusion of technology into a pristine riding experience.
2. Self-Balancing Technology
Developed by Harley-Davidson, the self-balancing technology helps novice, as well as elderly riders, avoid low-speed tip-overs while riding their V-twin cruisers. It consists of a traditional spinning flywheel gyroscope with attached sensors that calculate the bike’s lean angle during low speeds and mitigates it accordingly.
Since it is an attachable module and not built-in, the system can be easily removed once the rider is comfortable handling the machine without it, much like training wheels on a bicycle.
3. Autopilot Technology
A confluence of the above self-balancing and radar sensing technologies, the autopilot technology allows a motorcycle to move without the aid of a human rider, similar to Tesla’s cars. Honda had revealed a prototype of the technology in 2017 with a bike that was able to follow a person over short distances but details of a recent patent reveal that they want to take the idea to the next level.
The complex system involves a motor that controls the steering as well as a plethora of sensors, cameras, and AI software that help the onboard computer not only monitor the traffic and maintain a comfortable riding speed autonomously but also monitor the alertness of the rider and respond to accidental inputs under emergency situations.
4. Mind-Reading Technology
It takes around 250 milliseconds for the average human to process and responds to a stimulus. Although we have currently not reached the level of controlling the movements of a motorcycle using our thought, Honda is developing a technology that very well may make that a reality.
It involves a system of electrodes embedded inside the helmet that is able to decipher the rider’s intentions by reading the brain wave signals and then automatically executes the intentions by controlling various aspects of the motorcycle through a ‘brain-machine interface.
The technology is already under implementation in the military as well as prosthetic applications and is expected to make the existing rider assistance technologies more effective.

5. Predictive Traction Control
Current gen Traction Control System (TCS), although highly sensitive and effective in maintaining stability, is a reactive technology that only kicks into gear after the motorcycle experiences a loss of traction. BMW Motorrad is working on a new type of TCS that will be able to analyze the road surface and estimate the loss of traction in order to adjust the ABS/TC response even before the motorcycle hits that piece of terrain.
The system involves a complex set of cameras that create a real-time 3D image of the road surface, acoustic sensors that constantly monitor the change in the sound of the contact area of the tires as well as other input parameters such as tire pressure, acceleration, lean angle, braking force, etc.

6. Hybrid Drive Technology
Almost all major motorcycle brands have announced the development of their electric models. While this is a relatively new and lauded advancement in automotive technology, ‘range anxiety’ is a very real fear in the minds of consumers. Kawasaki and Honda have filed patents for a Hybrid Drive Technology can help assuage that fear and improve the palpability of EVs until the charging infrastructure becomes prolific.
As the name suggests, it involves a combo of petrol and electric motors that either will power the rear wheel together or the petrol motor will be used as a range extender. It also puts the cost somewhere in between a traditional fossil fuel-driven vehicle and a fully battery-powered EV as engines tech is comparatively cheaper and a costly energy-dense battery isn’t required.
7. Deployable Drone Technology
As far as patents go, this is arguably one of the weirder ones that have been filed by Honda recently. It involves a drone that is concealed in the tail-box of the motorcycle that can be deployed on command. Although it’s a cool concept, the question of ‘why?’ has not been answered by Honda. Some speculate that it could be for scouting the traffic and road conditions ahead or as an emergency beacon to transmit a crash location. (Or even take selfies?).
The closest thing to this technology is the Audi AI: Trail off-road EV concept revealed in 2019, which has an array of 5 autonomous drones on board that can be deployed to illuminate the path ahead with its inbuilt floodlights.
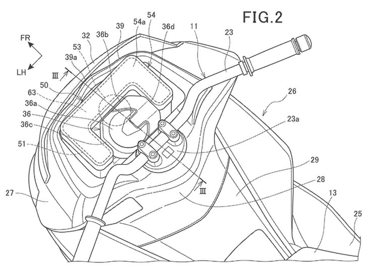
8. Curtain Style Airbag System
The concept of adding an airbag onto a motorcycle has been around ever since they started saving lives in car accidents. But unlike a car where there’s plenty of space on the dashboard to fit the system and limited movement of the passengers thanks to the seat belt, fitting the system on a motorcycle to accurately predict the rider’s body movement is difficult. Presently, the Honda Goldwing is the only motorcycle that has an airbag fitted as it has a car-like saddle position.
Honda has recently filed patents for 3 more designs that are alleged to bring the technology to scooters and motorcycles as well. It involves a curtain-style airbag design that is deployed in the front of the rider and since 68% of motorcycle accidents include frontal collision injuries, it makes sense that Honda is investing in its R&D to reduce this harm.
9. Wireless Charging Technology
This new technology is currently under development by BMW Motorrad for their EV models and is designed to make the charging process of their motorcycle easier. Conventionally, the rider has to use plugin a heavy-duty charging cable that is connected to a supercharger or wall socket to charge up their vehicle but in this technology, the charging is carried out via the side stand.
The system involves a wireless charging receiver into the base pad of the motorcycle’s side stand and the ride only has to park the motorcycle in such a way that it is in contact with the wireless charger AC coil installed in the ground.
While it is not expected to reach the speeds of conventional charging, it can make it easier for riders who do not have garages to park their motorcycles or nearby charging stations.
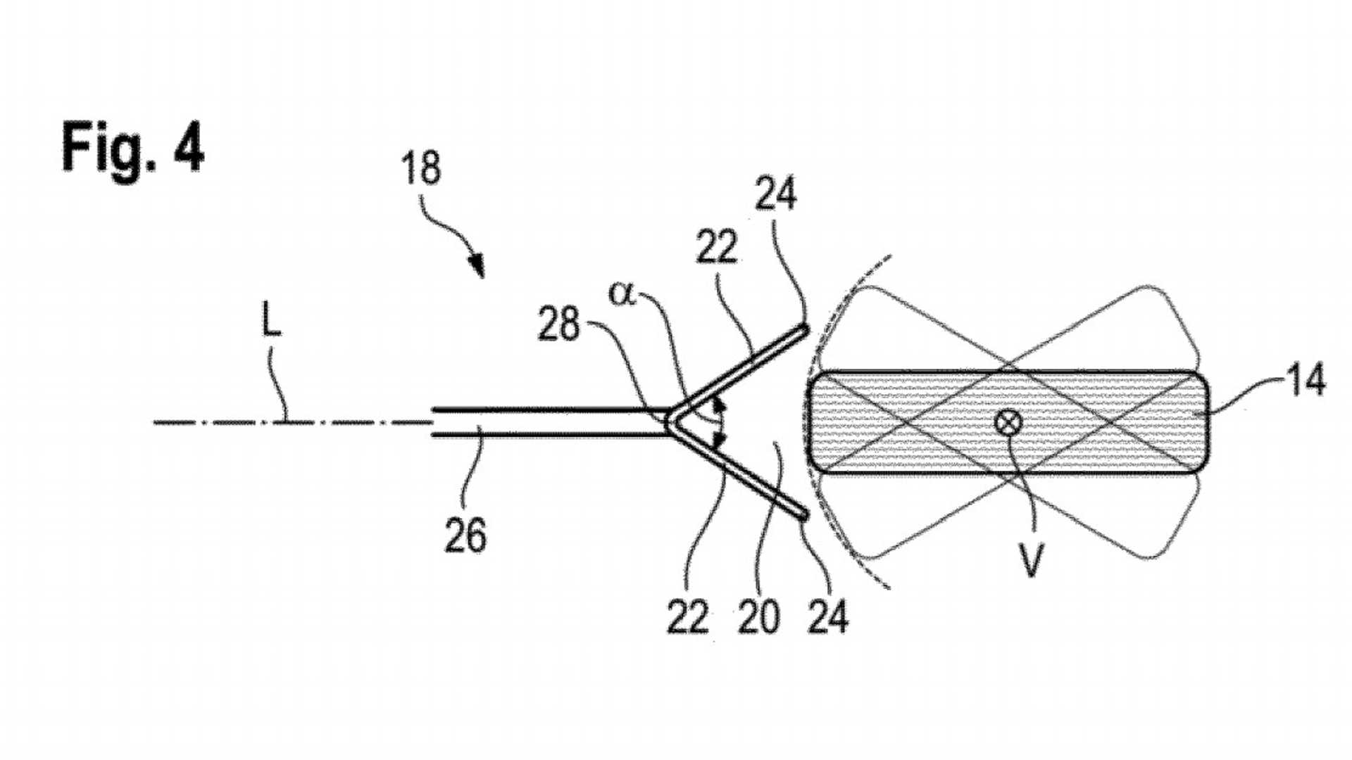
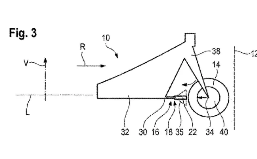
10. Crumple Zone Collision Protection
Crumple Zones or Crash Zones are structural areas of a vehicle that are designed to crumple and absorb the force of the impact in case of an accident. Along with the airbag, it is one of the most important safety features in a car. But unfortunately, in case of a full-frontal collision on a motorcycle, the front tire twists sideways and the rider is thrown into the air.
A recent patent filed BMW Motorrad details a crumple zone technology for motorcycles which involves a simple V-shaped component placed behind the front wheel that would prevent the front wheel from twisting under impact. The front tire, rim, and the forks then get pushed back, subsequently absorbing most of the brunt of the impact giving precious moments of protection to the rider.















































Comments